同学们,最近是不是对通知存款的支取流程感到一头雾水?别担心,小财今天就来给大家详细解答,让你轻松掌握通知存款的支取技巧!
先来回顾一下通知存款的定义:
人民币单位通知存款,就是成员单位在存入款项时不约定存期,支取时需提前通知财务公司,并约定支取日期和金额的存款。简单来说,就是“先通知,后取钱”。
01 如何支取通知存款
✅【预约支取】
提前预约后支取(需至少提前7天预约),利率按约定支取日招商财务挂牌通知存款利率,约定支取日资金自动到账。
(推荐选择!收益更高,适合规划中长期资金需求。)
✅【直接支取】
未预约直接支取,利率按支取日招商财务挂牌活期存款利率计息,审核当日到账。
( 急需资金时可选,快速解决燃眉之急,但利息收益将会受损。)
支取方式对比表:
支取方式 | 利率 | 到账时间 | 适合场景 |
预约支取 | 通知存款利率 | 预约支取日 (至少7天) | 规划中长期资金需求 |
直接支取 | 活期利率 | 当日 | 紧急用款 |
操作指引:
【预约支取】:需要至少提前7天(可等于或大于7天)在财务公司资金管理系统(以下简称FMS)中提交“通知存款预约”指令。资金将于约定支取日自动到账。
系统操作路径:【账户存款】——【通知存款预约】——点击【预约】确认信息后提交至复核审核。

(支取日期系统默认7天,也可根据实际资金安排选择7天后的日期。)

【小提示】:通知存款预约需要复核审批提交至财务公司处理,才能预约成功哦!
【直接支取】直接在FMS中提交通知支取指令。经复核审批后提至财务公司处理,财务公司处理的当日到账。
操作路径:【账户存款】——【通知支取】

通知存款支取场景Q&A
Q1:如果预约生效不足7天,会有什么影响?
案例:公司经办于3月7日(周五)提交通知存款预约指令,支取日定在3月14日。公司复核于3月10日(周一)审核提交至财务公司。
结果:预约生效日为3月10日,距离支取日3月14日不足7天,因此无法受理。
建议:务必确保预约生效日距离支取日至少7天,否则预约将失效。
Q2:如果预约支取日遇到节假日,资金会如何处理?
案例:公司经办于3月7日(周五)提交通知存款预约指令,支取日定在3月16日(周日)。公司复核于当日审核提交至财务公司,并受理成功。
结果:3月16日(周日)为节假日,资金将自动到账至其在财务公司的活期账户。
提示:节假日不影响资金到账,系统会自动处理。
Q3:如果取消预约,利息会如何计算?
案例:公司经办于3月7日成功预约3月14日支取。3月10日因资金需求变动,决定取消此笔预约。
结果:取消预约后,预约期间(即3月7日至3月14日)的资金将不计利息。
建议:在取消预约前,评估资金需求,避免因取消导致利息损失。
小财总结
1、提前规划:确保预约生效日距离支取日至少7天,避免预约失效。
2、节假日无影响:系统会自动处理节假日到账问题。
3、取消需谨慎:取消预约会导致预约期间无利息,建议根据实际需求灵活选择支取方式。
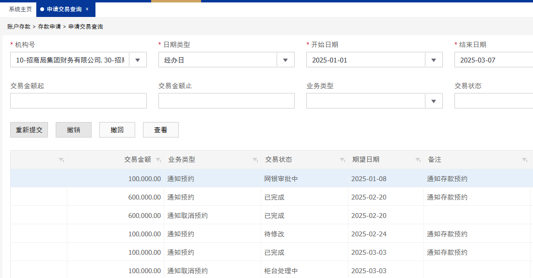
02 如何查询业务状态?
想查看业务处理状态、是否预约成功、流程进行到哪一步或撤销预约申请,都可以在FMS中查询。
路径:【账户存款】-【申请交易查询】


本期小财课堂就到这里啦!希望这篇推文能帮你解决通知存款支取的疑惑。如果还有疑问,记得留言哦!我们下次再见!
【小财提示】记得关注我们的公众号,更多实用小课堂等你哦!




